Методические рекомендации
Доступная среда включает
- Беспрепятственный доступ к объектам социальной инфраструктуры
- Беспрепятственное пользование транспортом и транспортными коммуникациями
- Беспрепятственный доступ к средствам связи и информации
- Беспрепятственное получение услуг
- Преодоление психологических (отношенческих) барьеров в обществе
Основные структурно-функциональные зоны и элементы зданий и сооружений
В соответствии с Методикой паспортизации и классификации объектов и услуг целью их объективной оценки для разработки мер, обеспечивающих их доступность, выделяют следующие 6 основных структурно-функциональных зон и элементов зданий и сооружений, подлежащих адаптации для инвалидов и других МГН:

Территория, прилегающая к зданию


- Пути движения на территории


Пункт 4.1.8 Перепад высот в местах съезда на проезжую часть не должен превышать 1,5 см (ранее было — 4 см).
- Автостоянка и парковка
Пункт 4.2.4 Разметку места для стоянки автомашины инвалида на кресле-коляске следует предусматривать размером 6,0 x 3,6 м (ранее — 5,0 х 3,5 м).

Входы в здание


- Лестница
Пункт 4.1.12 Ширина лестничных маршей открытых лестниц должна быть не менее 1,35 м. Для открытых лестниц на перепадах рельефа ширину проступей следует принимать от 0,35 до 0,4 м, высоту подступенка — от 0,12 до 0,15 м (ранее ширина проступей — не менее 0,4 м, высота подступенка — не более 0,12 м).

Пункт 4.1.12 Краевые ступени лестничных маршей должны быть выделены цветом или фактурой.
Перед открытой лестницей за 0,8-0,9 м следует предусматривать предупредительные тактильные полосы шириной 0,3-0,5 м.

- Пандус
Пункт 4.1.14 Уклон марша пандуса не круче 1:20 (5%) (ранее — 1:12 (8%).



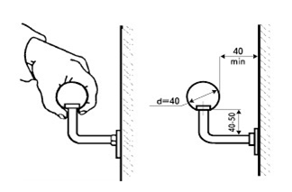
- Поручи
5.2.16 Поручни рекомендуется применять округлого сечения диаметром от 0,04 до 0,06 м.
(в ГОСТ Р 51261 — от 30 мм (поручни для детей) до 50 мм (поручни для взрослых) или прямоугольного сечения толщиной от 25 до 30 мм).

5.2.16 На верхней или боковой, внешней по отношению к маршу, поверхности поручней перил должны предусматриваться рельефные обозначения этажей, а также предупредительные полосы об окончании перил.

Тактильные наклейки на поручни.
- Входная площадка

Пункт 5.1.1 В здании должен быть как минимум один вход, доступный для МГН, с поверхности земли и из каждого доступного для МГН подземного или надземного уровня, соединенного с этим зданием.
Пункт 5.1.3 Размеры входной площадки при открывании полотна дверей наружу должны быть не менее 1,4 х 2,0 м или 1,5 х 1,85 м. Размеры входной площадки с пандусом — не менее 2,2 х 2,2 м.
Информационные знаки доступности.
Пункт 5.5.1 Если не все входы в здание, сооружение являются доступными, доступные для МГН входы должны идентифицироваться символами доступности.
- Двери
Пункт 5.1.4 Входные двери должны иметь ширину в свету не менее 1,2 м (ранее — не менее 0,9 м).

Контрастная маркировка на прозрачных полотнах дверей.
Пункт 5.1.5 Дверные наличники или края дверного полотна и ручки рекомендуется окрашивать в отличные от дверного полотна контрастные цвета.


- Двери
Пункт 5.1.4 Высота каждого элемента порога наружных дверей не должна превышать 1,4 см (ранее — общая высота порога не более 2,5 см).
Пункт 5.2.4 При необходимости устройства порогов их высота или перепад высот не должен превышать 1,4 см (ранее — не более 2,5 см).

Мобильные аппарели для преодоления перепадов высот

Путь (пути) движения внутри здания


- Лифт пассажирский (подъемник)
Пункт 5.2.18 Кабины лифтов должны иметь внутренние размеры не менее 1,7 х 1,5 м.
(ранее минимальные габариты лифта для МГН составляли 1,1 м — ширина и 1,4 м — глубина).
Пункт 5.2.21 Свободное пространство перед подъемными платформами должно составлять не менее 1,6 x 1,6 м (ранее 1,5 х 1,5 м).
В целях обеспечения контроля за подъемной платформой они могут быть оснащены средствами диспетчерского и визуального контроля, с выводом информации на удаленное автоматизированное рабочее место оператора.

- Пути эвакуации
Пункт 5.2.4 Двери на путях эвакуации должны иметь окраску, контрастную со стеной.
Контрастные и светонакапливающие (светящиеся в темноте) полосы


Зона целевого назначения здания (целевого посещения объекта)


Оборудование залов общественного питания
Оборудование предприятий торговли
Оборудование касс
Оборудование выставочных залов
Санитарно-гигиенические помещения


- Туалетная комната
5.3.3 Доступная кабина в общей уборной должна иметь размеры в плане не менее, м:
ширина — 1,65, глубина — 1,8, ширина двери — 0,9.
В кабине рядом с унитазом следует предусматривать пространство не менее 0,75 м для размещения кресла-коляски, а также крючки для одежды, костылей и других принадлежностей.
В кабине должно быть свободное пространство диаметром 1,4 м для разворота кресла-коляски.
Двери должны открываться наружу.

5.3.6 У дверей санитарно-бытовых помещений или доступных кабин (уборная, душевая, ванная и т.п.) следует предусматривать специальные знаки (в том числе рельефные) на высоте 1,35 м.
Доступные кабины должны быть оборудованы системой тревожной сигнализации, обеспечивающей связь с помещением постоянного дежурного персонала (поста охраны или администрации объекта).
Над входом в доступные кабины рекомендуется устанавливать световые мигающие оповещатели, срабатывающие при нажатии тревожной кнопки.

Система информации на объекте
- Визуальные средства в соответствии с ГОСТ Р 52131
Пиктограммы, знаки, таблички, наклейки
Информационные табло
Информационные терминалы
Световые маяки
- Тактильные средства в соответствии с ГОСТ Р 51671

